查看 1227 回复 0

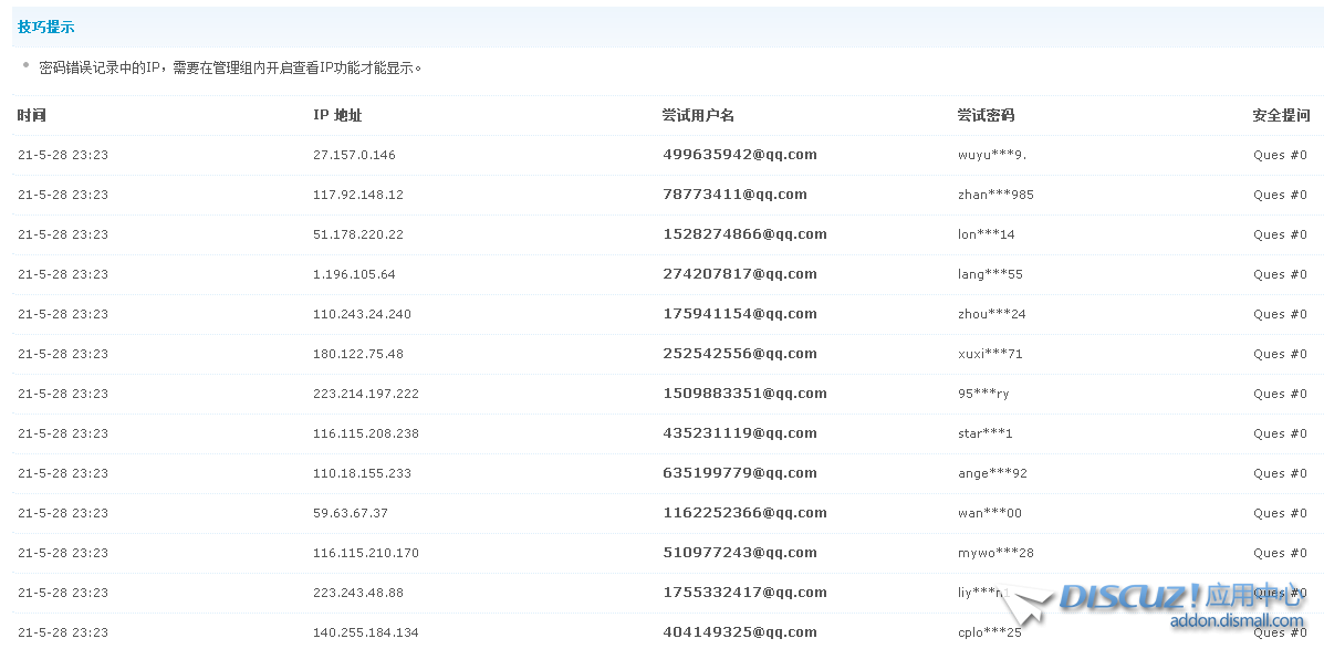
面对这样24小时不间断的撞库攻击有什么好办法么?

11

主题

3

回帖

972

积分

高级会员

积分
972

推广达人宣传达人灌水之王荣誉管理论坛元老

发表于 2021-10-27 10:53:44|来自:广西柳州市 | 显示全部楼层 |阅读模式
验证码无效,不停的在尝试用户名和密码,安装第三方插件验证也没用。

有谁能出个招么? 233854bzzp3qgmm1qwp2zt.png
唱歌、电影、制作模板

快速回帖

您需要登录后才可以回帖 登录 | 立即注册

本版积分规则